Ini dia Desain Patent Dari Yamaha R1
Ternyata Desain Dari Superbike Yamaha R1 telah dipatentnya sob . . . Cek deh gambar diatas yang saya ambil dari web morebikes . . . detail dari bulatan merah memperlihatkan jenis muffler twin dari desain ini sedangkan seperti kita ketahui Yamaha R1 hanya menggunakan single end Muffler di kanan
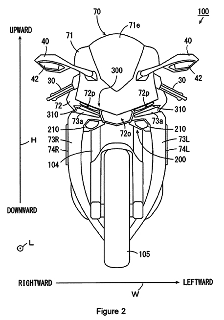
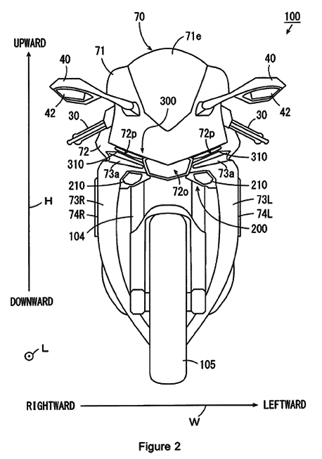
Nah gambar desain patentnya jika dilihat dari depan adalah sebagai berikut:
terlihat banget bahwa memang semenjak awal desain patent, headlampnya dibuat kecil dan di posisi kan di bagian bawah cowl depan
satu kata .. benar benar mirip antara desain patent dan foto motor kenyataannya [MP]





mantap.. smoga di WSBK bisa lebih kompetitif motornya.. 😦
SukaSuka
sekarang jadi ikut dipatenkan 😀
http://sijidewe.com/2016/03/15/modifikasi-honda-vario-150-bergaya-ala-pcx
SukaSuka
plek banget
http://orongorong.com/2015/06/05/akhirnya-pilihan-jatuh-ke-honda-vario-150/
SukaSuka
Patenha di buat mirip wak, biar gak di ambil sama orang, semoga aja r15 kedepanya desainya mirip r1
Mosok ninja udah mirip zx10
Cbr bentar lagi mau di miripin seluruh klanya
R15 masa gak di miripin r1
Miripin lah biar keren
http://jildhuz.com/2016/03/15/modus-mlm-banyak-pembicara-di-acara-prospek/
SukaSuka