Suzuki siapkan Desain Superbike dengan teknologi Supercharger

GSX-1000_turbo2

jika Kawasaki menciptakan Motor dengan teknologi mesin Supercharger, maka Suzuki sepertinya nggak mau kalah sob .  . Via morebikes mereka ketahuan sedang mengembangkan desain motor superbike dengan teknologi mesin supercharger . .  di gambar desain patentnya sih ada dua sob, GSX R1000 dan GSX R750 . ..

GSX-1000_turbo1

Sepintas dua gambar diatas adalah sama, namunjikalihat detail di spatbor belakang, fuel tank, terlihat bedannya sob . ..  foto pertama disinyalir merupakan GSX-R1000 turbo dengan dual twin muffler dan gambar bawah kemungkinan merupakan GSX-R750 turbo

GSX-1000_turbo3

GSX-1000_turbo8

GSX-1000_turbo7

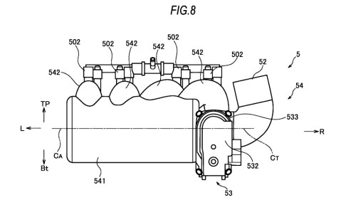
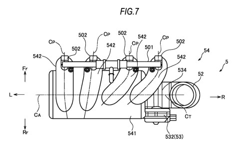
Dari tiga gambar diatas terlihat bahwa ada semacam part supercharger no 532 dimana di sana adalah alat yang berfungsi sebagai compression chamber sebelum udara masuk ke ruang bakar. Biasannya untuk saluran Kompresi udara ini ada semacam jalur khusus untuk menyergap udara dari depan, sayang tidak ada foto dari arah depan dari desain patent Suzuki ini [MP]

sumber : Morebikes

Tag:, , , , ,

7 responses to “Suzuki siapkan Desain Superbike dengan teknologi Supercharger”

  1. avatar blur
    blur says :

    Wak kok no 523 turbonya, apa ga salah?
    Yg bener ga 532 komponen partnya wak?????

    Suka

  2. avatar Qiu-qiu
    Qiu-qiu says :

    Posting mencerdaskan

    Suka

  3. avatar B lmp
    B lmp says :

    Klo di liat” drawing buritan gsx1000 nya mirim gsx1000 consep 2017

    Suka

  4. avatar priyandyka
    priyandyka says :

    Turbo dan supercharger beda lhoo…
    Basically sama, tapi cara kerjanya berbeda.. Saya baca kok kadang disebut supercharger, kadang disebut turbo… Agak bingung.. Walaupun pas liat sketsa, mungkin itu supercharger, dari letaknya..

    Suka

Tinggalkan komentar